|
| Kirjoittaja |
Viesti |
|
svc
|
Viestin otsikko: Re: Jousituksen tekniikkaa Lähetetty: 09.04.2010 22:36 |
Viestit: 4073 Paikkakunta: Eteläkärki
|
Paso kirjoitti: Sylinteri on sitten vinossa vain 17 astetta, joka vaikuttaa 5 %. Lainaa: Ja edelleen laskien breakissa hydrauliikka jaksaa kantaa etuakselilla 3725 kg ja takana 1450 kg. = Yli viisi tonnia,
Tuo taka-akselin kuormitus on varmasti oikein, mutta etuakseli ei voi olla noin. Lainaa: Etujousituksesta muistelen mitanneeni lähes 100 bar paineen tyhjästä autosta jossa etuakselipaino on lähes tonni. Tämän perusteella etuakseli voisi kantaa 1700 kiloa. Jos haluat laskea tarkasti, täytyy varmaan tehdä vapaakappalekuvat, vipusuhde ei ehkei olekaan 1:1 edessä... Paineen mittaaminen voi tosin olla vedenpitävin konsti saada tietoa jousituksesta. Etusylinteri vaikuttaa suoraan napaan ja jos sen jatkekin osuu renkaan keskilinjalle, niin silloinhan vipusuhde olisi 1:1, eikö? Sylinteri on edessäkin vinossa. KPI-kulma=13,3 astetta. Tätäkään en huomioinut aiemmin, sillä sen vaikutus on alle 3%. 37mm sylinterin pinta-ala on 10,75cm2. Eli 170 bar paineella on saadaan voimaksi 18.28 kN / sylinteri. Kulma huomioiden pyöräkuormaksi tulee n. 17,8 kN. Kyllä siitä saan toisenkin kerran laskemalla hieman yli 1800 kg / pyörä. Jos joku keksii, missä menee metsään, kertokoon. Veikkaan kyllä, että jos etuakselille lastattaisiin se reilu 3,5t joku muu paikka pettäisi.
"Pitäähän miehellä leluja olla..." C5 2.0 HDi -11, Seat León eHybrid -21
|
|
|
|
 |
|
Paso
|
Viestin otsikko: Re: Jousituksen tekniikkaa Lähetetty: 09.04.2010 23:41 |
Viestit: 116 Paikkakunta: Keski-Pohjanmaa
|
|
Löysin O. Laineen kirjasta Autotekniikka 2 McPhersonille johdetun kaavan ja syöttelin siihen tuon 13 astetta ja hatusta muita arvoja. Näyttäisi siltä, että geometria syö todellakin korkeintaan 10 % jousen voimasta, kun se siirretään pyörälle. Mutta ei kai tuota noin rajuksi ole mitoitettu? Lisäksi jos RPekka on sieltä mitannut 100 Bar paineen etuakselipainolla 1000 kg, niin kyllähän siihen pitää luottaa, jos mittari vain on ollut kunnossa? En ole joutunut kuuden vuoden aikana tutustumaan etujoustintukeen; ei kai siellä nesteen paine pääse vaikuttamaan männän molemmille puolille? Silloinhan laskentapinta-alana pitää käyttää männänvarren halkaisijaa.
C8 HDi136 -07 Xantia HDi110 -99 BX TRD turbo -91
|
|
|
|
 |
|
RPekka
|
Viestin otsikko: Re: Jousituksen tekniikkaa Lähetetty: 09.04.2010 23:45 |
Viestit: 1654 Paikkakunta: Lappeenranta
|
Paso kirjoitti: En ole joutunut kuuden vuoden aikana tutustumaan etujoustintukeen; ei kai siellä nesteen paine pääse vaikuttamaan männän molemmille puolille? Silloinhan laskentapinta-alana pitää käyttää männänvarren halkaisijaa. Oletan että Xantian etutolppa on hyvin läheistä sukua BX:n tolpalle joita olen purkanut muutamia. Mäntä on "koeputken muotoinen" ts minkäänlaista erillistä vartta siinä ei ole vaan voima välitetään työntötangon kautta. Kuvaa en löytänyt juuri tähän hätään mutta riskiä tuosta ei ole.
Citroen e-C4, vm 2020. Citroen DS5 Hybrid4, vm 2013. Citroen 2CV "Justiina", vm 1980 Citroen Dyane "Hilma", vm 1975.
|
|
|
|
 |
|
laakeri
|
Viestin otsikko: Re: Jousituksen tekniikkaa Lähetetty: 10.04.2010 00:57 |
Viestit: 7490 Paikkakunta: Taipalsaari
|
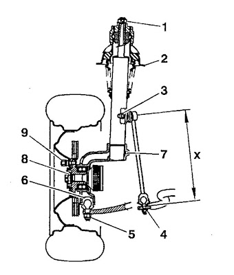
RPekka kirjoitti: Oletan että Xantian etutolppa on hyvin läheistä sukua BX:n tolpalle joita olen purkanut muutamia. Mäntä on "koeputken muotoinen" ts minkäänlaista erillistä vartta siinä ei ole vaan voima välitetään työntötangon kautta. Kuvaa en löytänyt juuri tähän hätään mutta riskiä tuosta ei ole. Koko etupyöräntuenta: Liitteet:
bx-etuj.png [ 43.79 KiB | Katsottu 18396 kertaa ]
Ja sitten pelkkä tolppa vähän isompana: Liitteet:
bx-etutolppa.png [ 65.45 KiB | Katsottu 18406 kertaa ]
VW Passat B7
|
|
|
|
 |
|
svc
|
Viestin otsikko: Re: Jousituksen tekniikkaa Lähetetty: 10.04.2010 07:16 |
Viestit: 4073 Paikkakunta: Eteläkärki
|
Tuosta kuvasta mittaamalla BX:n etujousituksen vipusuhde onkin 1:1,4. jos Xantia on samanlainen, niin etupään kantavuudesta häviää n:30%. Jää 2570 kg. 100 bar kantaisi 1560 kg;. Lähestytään siis mitattuja arvoja. 
"Pitäähän miehellä leluja olla..." C5 2.0 HDi -11, Seat León eHybrid -21
|
|
|
|
 |
|
olli__o
|
Viestin otsikko: Re: Jousituksen tekniikkaa Lähetetty: 10.04.2010 08:23 |
Viestit: 5196
|
|
Mistä männän halkaisia 37 mm on peräisin? Onko se tuon sisämännän vai ulkoliukuputken?
|
|
|
|
 |
|
Jankos
|
Viestin otsikko: Re: Jousituksen tekniikkaa Lähetetty: 10.04.2010 08:50 |
Viestit: 1230 Paikkakunta: Jokioinen
|
svc kirjoitti: Tuosta kuvasta mittaamalla BX:n etujousituksen vipusuhde onkin 1:1,4. jos Xantia on samanlainen, niin etupään kantavuudesta häviää n:30%. Jää 2570 kg. Öö missä tuossa rakenteessa on vipusuhdetta? McPerssonissa tukivarsi pitää tolppaa vain paikallaan ja vain tolpan kulma vaikuttaa voiman tarpeeseen.
Saxo vts v1600, Peugeot 2008 E-hdi 115 allure, Ducato 2.3jtd retkis, Ducato 180 multijet huoltoautona, Saxo TU5JP4T projekti.
|
|
|
|
 |
|
olli__o
|
Viestin otsikko: Re: Jousituksen tekniikkaa Lähetetty: 10.04.2010 10:07 |
Viestit: 5196
|
|
Kyllä McPhersonilla vipuvarren vaikutusta voi tulla, koska yleensä kiinnityspiste ei ole renkaan keskipisteessä (eli jos rengas nousee 1 mm, puristuu lähempänä laakerointipistettä oleva McPherson kasaan vain 0,7 mm tai jotain muuta)
McPhersonissa tuo vipuvarsisuhde ei taida olla vakio edes jousituksen normaalilla toiminta-alueella?
|
|
|
|
 |
|
RPekka
|
Viestin otsikko: Re: Jousituksen tekniikkaa Lähetetty: 10.04.2010 11:15 |
Viestit: 1654 Paikkakunta: Lappeenranta
|
svc kirjoitti: jos Xantia on samanlainen 
Citroen e-C4, vm 2020. Citroen DS5 Hybrid4, vm 2013. Citroen 2CV "Justiina", vm 1980 Citroen Dyane "Hilma", vm 1975.
|
|
|
|
 |
|
svc
|
Viestin otsikko: Re: Jousituksen tekniikkaa Lähetetty: 10.04.2010 12:23 |
Viestit: 4073 Paikkakunta: Eteläkärki
|
Jankos kirjoitti: svc kirjoitti: Tuosta kuvasta mittaamalla BX:n etujousituksen vipusuhde onkin 1:1,4. jos Xantia on samanlainen, niin etupään kantavuudesta häviää n:30%. Jää 2570 kg. Öö missä tuossa rakenteessa on vipusuhdetta? McPerssonissa tukivarsi pitää tolppaa vain paikallaan ja vain tolpan kulma vaikuttaa voiman tarpeeseen. Olet oikeassa. Tuli ajatusvirhe. Tolpan voiman vaikutuspiste on alapallonivel..
"Pitäähän miehellä leluja olla..." C5 2.0 HDi -11, Seat León eHybrid -21
|
|
|
|
 |
|
Paso
|
Viestin otsikko: Re: Jousituksen tekniikkaa Lähetetty: 10.04.2010 12:37 |
Viestit: 116 Paikkakunta: Keski-Pohjanmaa
|
|
Tuo joustituen sisällä oleva "koeputki" määrittää voiman ja sen halkaisija lienee n. 22 mm, ei 35...
C8 HDi136 -07 Xantia HDi110 -99 BX TRD turbo -91
|
|
|
|
 |
|
Jankos
|
Viestin otsikko: Re: Jousituksen tekniikkaa Lähetetty: 10.04.2010 12:57 |
Viestit: 1230 Paikkakunta: Jokioinen
|
olli__o kirjoitti: Kyllä McPhersonilla vipuvarren vaikutusta voi tulla, koska yleensä kiinnityspiste ei ole renkaan keskipisteessä (eli jos rengas nousee 1 mm, puristuu lähempänä laakerointipistettä oleva McPherson kasaan vain 0,7 mm tai jotain muuta)
McPhersonissa tuo vipuvarsisuhde ei taida olla vakio edes jousituksen normaalilla toiminta-alueella? Ei pidä paikkaansa. Kun pyörä liikkuu 10 mm niin tolppakin painuu kasaan 10 mm (jos ei huomioida tolpan kulmavaikutusta mikä on lähes olematon kun kulma on yleensä 10 asteen paikkeilla), oli rengas kuinka kaukana tahansa laakerointipisteistä tai ihan mistä vain. Perssonissa ei jousituksen jäykkyys muutu vaikka laitat kuinka suuren välilaipan tahansa. Tai no tuleehan siinäkin voimia lisää tukivarrelle mutta jousitusjäykkyteen se ei vaikuta. Tätä voi miettiä silläkin että jos tuet pyörän maahan niin että ei liiku mihinkään niin voit ottaa alatukivarren kokonaan pois ja jousitus toimii ihan normisti. Ja näin se ei voisi toimia jos se toimisi vipuvartena ja alatukivarsi on ainoa mikä sen vipuvarren voisi muodostaa.
Saxo vts v1600, Peugeot 2008 E-hdi 115 allure, Ducato 2.3jtd retkis, Ducato 180 multijet huoltoautona, Saxo TU5JP4T projekti.
|
|
|
|
 |
|
RPekka
|
Viestin otsikko: Re: Jousituksen tekniikkaa Lähetetty: 10.04.2010 21:13 |
Viestit: 1654 Paikkakunta: Lappeenranta
|
olli__o kirjoitti: Kertokaa minulle samalla miksi jousitus muuttuu sitä jäykemmäksi mitä ylempänä jousitus on, ei kai paineet ainakaan muutu suuresti mihinkään suuntaan oli auto normiasennossa tai ylempänä? Xantian ollessa kyseessä niin se "mökkitieasento" on niin ylhäällä että auto on jo osin ulosjoustotopparia vasten, erityisesti takana. Tästä johtuu se että painetta on laitettu gravitaation lisäksi sitä kumia vasten joka on täysin vapaana kun ulosjoustoa tulee edes sentti. Servicestä löytyy InfoRapid jossa neuvotaan kuinka sitä korkeudensäätökahvan lukitusrautaa pitää viilata jotta ongelma poistuu. BX:ssä mökkiasento on niin hyvä että olen ajanut 15 kilsaa vauhdikasta mutkaista asfalttitietä ihmetellen että miten onkin näin liukasta. Hetken päästä hoksasin sitten että auto unohtuikin mökkiasentoon kahlausharjoitusten jäljiltä.
Citroen e-C4, vm 2020. Citroen DS5 Hybrid4, vm 2013. Citroen 2CV "Justiina", vm 1980 Citroen Dyane "Hilma", vm 1975.
|
|
|
|
 |
|
olli__o
|
Viestin otsikko: Re: Jousituksen tekniikkaa Lähetetty: 10.04.2010 21:39 |
Viestit: 5196
|
Jankos kirjoitti: Ei pidä paikkaansa. Kun pyörä liikkuu 10 mm niin tolppakin painuu kasaan 10 mm ( No niinpä tietysti, kuvaa katsellessa tuli samalla ihmeteltyä lyhyen alatukivarren vaikutusta ääriasennoissa raideväliin ja ajatukset taisi harhailla ... RPekka kirjoitti: Xantian ollessa kyseessä niin se "mökkitieasento" on niin ylhäällä että auto on jo osin ulosjoustotopparia vasten, erityisesti takana. Jeps tämä selittää, kovin pomppuista menoa oli Xantialla ylhäällä ollessaan, ei unohdu vahingossa päälle
|
|
|
|
 |
|
svc
|
Viestin otsikko: Re: Jousituksen tekniikkaa Lähetetty: 11.04.2010 12:14 |
Viestit: 4073 Paikkakunta: Eteläkärki
|
olli__o kirjoitti: Mistä männän halkaisia 37 mm on peräisin? Onko se tuon sisämännän vai ulkoliukuputken? Muistin tuon etupään näköjään väärin. Tuolla aimemmin ketjussa lainasin tätä: http://www.bxclub.co.uk/forum/viewtopic.php?t=303Lainaa: I use Xantia cylinders for repair as these are much cheaper. They are 35mm bore like the the BX Hatch. '96 on the Xantia Estate got 40mm bore cylinders (BX estate are 37mm bore). Eli Xantussa olisi edessä 35 mm porauksella olevat sylinterit. Mistähän se berlinen takapään 37 mm tulikaan?
"Pitäähän miehellä leluja olla..." C5 2.0 HDi -11, Seat León eHybrid -21
|
|
|
|
 |
|
RPekka
|
Viestin otsikko: Re: Jousituksen tekniikkaa Lähetetty: 11.04.2010 13:00 |
Viestit: 1654 Paikkakunta: Lappeenranta
|
svc kirjoitti: Lainaa: I use Xantia cylinders for repair as these are much cheaper. They are 35mm bore like the the BX Hatch. '96 on the Xantia Estate got 40mm bore cylinders (BX estate are 37mm bore). Eli Xantussa olisi edessä 35 mm porauksella olevat sylinterit. Mistähän se berlinen takapään 37 mm tulikaan? Ei ole. Tuossa lukee että Xantiassa olisi takana 35 mm porauksella kuten BX:ssä. Ei ole sekään vaan takana on Servicestä tulkiten 37 mm (kuten BX Breakissa) ja farkussa 40 mm. Etusylinterin halkaisijasta ei ole mielestäni ollut tietoa tässä ketjussa.
Citroen e-C4, vm 2020. Citroen DS5 Hybrid4, vm 2013. Citroen 2CV "Justiina", vm 1980 Citroen Dyane "Hilma", vm 1975.
|
|
|
|
 |
|
Sitikkapuoskari
|
Viestin otsikko: Re: Jousituksen tekniikkaa Lähetetty: 11.04.2010 14:05 |
Viestit: 1203 Paikkakunta: Ilmajoki
|
BX:n etumännän halkaisija on n. 20mm.(tämä tieto sitoumuksetta kotoa sunnuntaina ilman lähdettä  )
|
|
|
|
 |
|
svc
|
Viestin otsikko: Re: Jousituksen tekniikkaa Lähetetty: 11.04.2010 16:36 |
Viestit: 4073 Paikkakunta: Eteläkärki
|
Joo. Tajusin tuon lopulta itsekin, että edessä ei voi olla edes 35 mm sylintereitä. Eräässä löytämässäni laskentataulukossa oli laskettu arvoja CX:lle mutta siinähän ei ole McPhersoneita vaan toisenlainen vivusto, jolloin siinä myös käytetään paksumpia sylintereitä. Siitä olen ilmeisesti saanut tuon virheellisen mielikuvan. Laskeskelin hieman taulukkoon jousituksen eri arvoja erilaisilla sylintereillä ja pallojen paineilla. http://koti.mbnet.fi/svc/doc/Citroen/ka ... usitus.xlsJos kuka huomaa virheitä, kertokoon julki.
"Pitäähän miehellä leluja olla..." C5 2.0 HDi -11, Seat León eHybrid -21
|
|
|
|
 |
|
osexm
|
Viestin otsikko: Re: Jousituksen tekniikkaa Lähetetty: 12.04.2010 10:06 |
Viestit: 214 Paikkakunta: Kauniainen
|
|
Mulla on tuo xmhydro.xls exceli josta voi laskea CX:n ja XM:n jousitukseen liittyviä juttuja. Lähinnä kokeilla eri palloja ja niiden vaikutusta ominaistaajuuteen. Jostain syystä en löydä linkkiä nettiin eli miten/minne voisin tuon pistää jakoon ? YV:nä voin toki tuupata liitteenä kiinnostuneille. Aikoinaan taisin ladata tuon ktl.mine.nu sivuilta. Näitä sivuja ei enää ole.
-------------- XM V6 24 -91
|
|
|
|
 |
|
Rychnowo
|
Viestin otsikko: Re: Jousituksen tekniikkaa Lähetetty: 12.04.2010 10:23 |
Viestit: 199
|
|
|
|
 |
|
svc
|
Viestin otsikko: Re: Jousituksen tekniikkaa Lähetetty: 17.04.2010 12:17 |
Viestit: 4073 Paikkakunta: Eteläkärki
|
|
Onkos kenelläkään tiedossa Xantian hydraulipumpun ominaisuuksia? Tuotto- yms. tietoja kaipaisin
"Pitäähän miehellä leluja olla..." C5 2.0 HDi -11, Seat León eHybrid -21
|
|
|
|
 |
|
RPekka
|
Viestin otsikko: Re: Jousituksen tekniikkaa Lähetetty: 18.04.2010 22:00 |
Viestit: 1654 Paikkakunta: Lappeenranta
|
svc kirjoitti: 100 bar kantaisi 1560 kg;. Lähestytään siis mitattuja arvoja.  Sen verran jäi itseä häiritsemään että mitattiin Tulskun kanssa tänään uudestaan ja dokumentoitiinkin jopa kuvina mittaukset. Xantia 2.1 td JA C5 2.0 16v HDi: edessä 100 bar ja takana 70 bar. Xantiassa viisari 70 bar viivan alareunassa ja viitosessa aivan viivan yli eli siellä pieni ero. Koitan käydä huomenna mittamassa Xantiasta akselipainot.
Citroen e-C4, vm 2020. Citroen DS5 Hybrid4, vm 2013. Citroen 2CV "Justiina", vm 1980 Citroen Dyane "Hilma", vm 1975.
|
|
|
|
 |
|
svc
|
Viestin otsikko: Re: Jousituksen tekniikkaa Lähetetty: 18.04.2010 23:16 |
Viestit: 4073 Paikkakunta: Eteläkärki
|
|
Jos laskuni ovat sinnepäinkään, nuo paineet vastaisivat Xantiassa akselimassoina noin 750 kg edessä ja 470 kg takana. Yhteensä 1240 kg ilman kuljettajaa. Taitaa olla muutaman kymmenen kiloa alakanttiin? Noissa laskuissa on oletuksena jousisylinterin männän halkaisijat edessä 22 ja takana 35 mm. (Berline)
"Pitäähän miehellä leluja olla..." C5 2.0 HDi -11, Seat León eHybrid -21
|
|
|
|
 |
|
RPekka
|
Viestin otsikko: Re: Jousituksen tekniikkaa Lähetetty: 18.04.2010 23:23 |
Viestit: 1654 Paikkakunta: Lappeenranta
|
svc kirjoitti: Jos laskuni ovat sinnepäinkään, nuo paineet vastaisivat Xantiassa akselimassoina noin 750 kg edessä ja 470 kg takana. Yhteensä 1240 kg ilman kuljettajaa. Taitaa olla muutaman kymmenen kiloa alakanttiin? Noissa laskuissa on oletuksena jousisylinterin männän halkaisijat edessä 22 ja takana 35 mm. (Berline) Kyllä se etuakselipaino keskikokoisen katsurin kanssa on ollut yli tonnin ja otteessa on omamassana 1504 kg. Huomenna vaakalle niin ei tartte spekuloida. Xantian taka-akselipaine nousi noin 75 bariin ja laski noin 60 bariin kun vetokoukusta perää liikutteli maksimiin ja toiseen.
Citroen e-C4, vm 2020. Citroen DS5 Hybrid4, vm 2013. Citroen 2CV "Justiina", vm 1980 Citroen Dyane "Hilma", vm 1975.
|
|
|
|
 |
|
RPekka
|
Viestin otsikko: Re: Jousituksen tekniikkaa Lähetetty: 18.04.2010 23:24 |
Viestit: 1654 Paikkakunta: Lappeenranta
|
svc kirjoitti: Noissa laskuissa on oletuksena jousisylinterin männän halkaisijat edessä 22 ja takana 35 mm. (Berline) Niin ja tosiaan, molemmat autot oli Break-mallisia.
Citroen e-C4, vm 2020. Citroen DS5 Hybrid4, vm 2013. Citroen 2CV "Justiina", vm 1980 Citroen Dyane "Hilma", vm 1975.
|
|
|
|
 |
|
|