Aiemmin olen aihetta jo sivunnut ja tässä ketjussa ruodin tuota muutosta tarkemmin.
Oheisen linkin takaa löytyy keskustelua aiheesta, linkki muutosta kuvaavaan dokumenttiin sekä esimerkki "uusien" venttiilien asennuksesta XM:ään.
"https://www.frenchcarforum.co.uk/forum/viewtopic.php?f=3&t=55429&sid=69598784420e54e0589bc2f250a5033d"
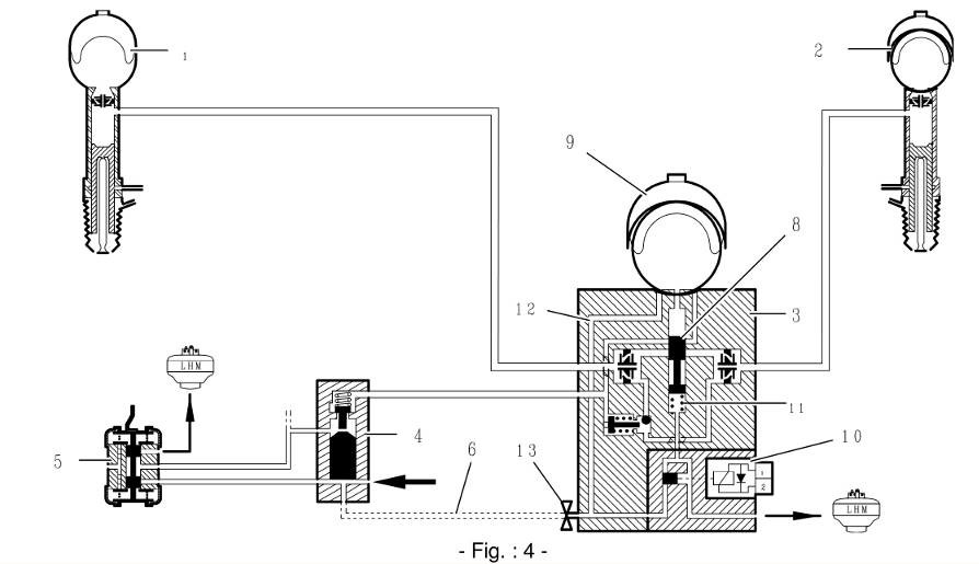
Kyse on loppupään xantioihin RPO 8156 alkaen tulleesta muutoksesta joka sitten on myös kopioitu uusiin H3+ venttiilileihin.
Oheisesista kaaviokuvista selviää muutoksen erot. Uudessa systeemissä on lisätty yhdysporaus (12) palloilta solenoidiventtiilin (10) syöttöpuolelle ja vajoamisenestoventtiililtä (4) tuleva syötto (6) on katkaistu ja venttiiliin lisätty ilmausnippa (13) ko liitäntään, mistä uuden helposti tunnistaakin. Nyt solenoidiventtiili saa syöttönsä pallon paineesta, eli pehmeään tilaan mennessä solenoidi käytännössä yhdistää pääkaran molemmat puolet samaan paineeseen ja karan (8) taakse lisätty jousi (11) hoitaa karan siirtymisen pehmeään asentoon. Tällöin venttiili toimii aina, hyvin alhaisellakin paineella. Tämän eron huomaa seisseestä autosta ovia aukoen. Pehmään tilaan menon huomaa useammankin oven aukaissun jälkeen vaikka moottoria ei käytettäisi. Vanhassa systeemissä ohjauspaineen lasku tekee sen, että kara jumittuu kovaan asentoon koska pallon puolella on suurempi paine kuin se minkä solenoidi kykenee ohjaamaan seisovasta pääjärjestelmästä. Sama ongelma toteutuu osin ajossakin. Milloin järjestelmässä oleva ilma häiritsee regulaattorin näkevää syöttopainetta, milloin solenoidiventtiilin vuoto aiheuttaa läpivirtausta ja estää painetta nousemasta riittävästi pehmeään tilaan menemiseksi. Yhtä kaikki, uusi versio poistaa nämä ongelmat. Toki sähköpuoli antureineen, ecuineen ja diodeineen pitää tomia myös..
Koska purkukuntoisten loppupään hydractive xantioiden määrä on hyvin rajallinen, koitan tässä ketjussa selvitttää vanhan venttiilin modausta tominnaltaan vastaavaksi ja vaihtoehtoisesti H3+ venttiilien hyödyntämistä.
Koska en omaa tällä hetkellä kuin käytössä olevia H2 venttiileijä aloitin tutkimisen H3+ venttiilin sielunelämästä, jonka ystavälliseltä patonkilaiselta sain tutkittavakseni

. Tästä aiheesta pian lisää
