|
| Kirjoittaja |
Viesti |
|
PietuG
|
Viestin otsikko: Xantia syö puslia Lähetetty: 23.10.2013 20:27 |
Viestit: 474
|
Mikä ihme tuota minun xanttua riivaa, kun se syö vasemman alatukivarren etumaisia puslia uskomatonta vauhtia? Pusla on vaihtokunnossa jotakuinkin kuukauden välein Oikealla puolella tätä ei tapahdu ja molemmat puolet kiristän vasta kun auto on käynnissä ja leijuu ajokorkeudessa. Ja nämä puslat on hankittu siitä hyvästä ja palvelevasta Vantaalaisesta "merkkiliikkeestä", joten mistään kurapuslista ei ole kysymys. Samasta paikasta ja samalla tavalla asennetut ja kiristetyt puslat käy ja kukkuu toisessa xantussa aina vaan. Paalataanko vai paijataanko?
Kun taitamaton laittaa haluttoman tekemään tarpeetonta, tuntuu vähän siltä, että turha työ menee hukkaan.
|
|
|
|
 |
|
laakeri
|
Viestin otsikko: Re: Xantia syö puslia Lähetetty: 23.10.2013 20:39 |
Viestit: 7490 Paikkakunta: Taipalsaari
|
|
Apurunko tai tukivarsi kiero?
VW Passat B7
|
|
|
|
 |
|
Teuski
|
Viestin otsikko: Re: Xantia syö puslia Lähetetty: 23.10.2013 20:53 |
Viestit: 7867 Paikkakunta: Eurajoki
|
|
Just keväällä vaihdoin kaikki puslat ja tuo sama on mullakin vaihtokunnossa. Auto seisoikin 3kk välissä mutta ei se pusla erityisen huono ollut kun vaihdoin...
Väljä etupusla aiheuttaa kyllä inhottavan muljahduksen vastakkaiseen suuntaan kääntyvissä jyrkissä kurveissa...
-=Citroën - Yhtä mukava kuin hyvä nojatuoli. Mutta parempi ajaa.=- -=C-Crosser 2.2HDi '07|C4 Cactus BlueHDi100 ETG '16=-
|
|
|
|
 |
|
idefix
|
Viestin otsikko: Re: Xantia syö puslia Lähetetty: 23.10.2013 21:09 |
Viestit: 1219 Paikkakunta: Ulvila
|
|
Kuinkahan on vaihdettu nuo puslat "kuukauden välein" on aika nopea aikataulu vaihdolle. Epäilyttää kyllä, että asennustyö ei ole tehty asianmukaisesti, jotain on todellakin pahasti pielessä. Ei edes alatukivarren virhe tai apurungon virheellisyys tällaista aiheuta. Onko autolla törmätty johonki ? ei edes motonetin puslat nyt yhdessä kuukaudessa pamahda. Mahtaakohan nyt olla kyseessä jokin muu ongelma kuin alatukivarren pusla, en eläessäni nimittäin ole kuullut, että kuukaudessa pusla hajoaisi. Voi toki näinkin olla, mutta siinä tapauksessa kehotan ottamaan yhteyttä jo kuluttajasuojavirastoon toistuvan vaivan takia. Tämä hipoo jo maailmanennätystä varaosan hajoamiseen.
Tarjoan ilmaiseksi tutkimuksen autoosi, en kyllä tällä syömisellä vielä usko asiaa todeksi. Jos vaiva ei olekaan kuvailemasi, niin sitten tulee kulut tutkimuksistani.
|
|
|
|
 |
|
PietuG
|
Viestin otsikko: Re: Xantia syö puslia Lähetetty: 24.10.2013 00:08 |
Viestit: 474
|
|
Myönnän, hieman liioittelin. Todellinen aika nykyisellä puslalla vaihdosta ensimmäiseen oireiluun oli 1kk ja 3 päivää. Nyt on ajettu 1kk ja 12 päivää, ja kyyti on nyt sen mukaista. Edellinen vaihtoväli vaihdosta vaihtoon oli 1kk ja 9 päivää.
Minulla on kaksi paria tukivarsia, jotka vaihdan aina puslien vaihdon yhteydessä. Näin saan rauhassa väkertää vanhat puslien raadot irti. Tämän takia en usko, että tukivarsi olisi saanut kipeää, silloinhan molempien vasemmanpuoleisten tukivarsien pitäisi olla vääntyneitä. Kanttareidenkaan yli ei tuolla tule ajeltua.
Olen kaksi kertaa joskus aiemmin kiristänyt puslat väärin. Virheistä on opittu ja nyt ne kiristetään oikeaoppisesti ajokorkeudessa.
En tiedä onko tuolla autolla törmäilty, se on ollut minulla nyt vuoden päivät ja koko ajan siinä on ollut etupään kanssa ongelmia. Vetelyä sinne tänne, väljää ohjauksessa ja renkaiden epätasaista kulumista. Puslien, koiranluiden, alapallojen ja raidetankojen sisä- ja ulkopäiden vaihdon jälkeen käytin auton pyöränkulmien säädössä Vianorilla ja se korjasi tuon rengasongelman ja vähensi vetelyä.
Välys ohjauksessa johtuu kulahtaneesta hammastangosta. Väljää on kuitenkin niin vähän, että katsastuksessakaan ei asiasta ole kuin sanottu että kohta voisit vaihtaa tuon hammastangon.
Kun taitamaton laittaa haluttoman tekemään tarpeetonta, tuntuu vähän siltä, että turha työ menee hukkaan.
|
|
|
|
 |
|
ealab
|
Viestin otsikko: Re: Xantia syö puslia Lähetetty: 24.10.2013 09:54 |
Viestit: 4467 Paikkakunta: Paimio
|
|
Vetelyäkin ehkä ja ainakin ohjauksen korjailua aiheuttaa liika taka-auraus. Siihen auttaa taka-apurungon vaihto. Onko etupään kaikki kulmat ok? Kaikki 3 kulmaa.
|
|
|
|
 |
|
puuparta
|
Viestin otsikko: Re: Xantia syö puslia Lähetetty: 14.03.2014 18:30 |
Viestit: 274 Paikkakunta: Lohja
|
PietuG kirjoitti: Olen kaksi kertaa joskus aiemmin kiristänyt puslat väärin. Virheistä on opittu ja nyt ne kiristetään oikeaoppisesti ajokorkeudessa.
.
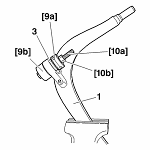
Nyt kun sattui sopivasti löytymään puslakeskustelun tynkä, niin tähän liittyen kysymys. Takapuslathan asettuvat väkisinkin siihen yhteen ja ainoaan asentoon, mutta entäpäs etupusla ? Tossa kuvatuksessa alatukivarret ovat "selällään" mutta onko noiden puslissa näkyvän kolmen kolosen asennolla tukivarressa merkitystä ? Loogisesti ajateltuna puslan joustamiseen tiettyyn suuntaan nuo koloset ehkä vaikuttavat, mutta onko siis jompikumpi noista asennettu väärään asentoon ja toinen oikein vaiko molemmat väärin ? Viisasta kysyä ennenkuin rupean painamaan noita prässillä pois uusien tieltä 
| Liitteet: |

etupusla.jpg [ 42.13 KiB | Katsottu 24175 kertaa ]
|
Miks nää aina hajoo jostain kohtaa,,,
|
|
|
|
 |
|
puuparta
|
Viestin otsikko: Re: Xantia syö puslia Lähetetty: 16.03.2014 17:30 |
Viestit: 274 Paikkakunta: Lohja
|
|
Kenelläkään tietoa tästä vai puristatteko etummaisen puslan siihen asentoon kun sattuu menemään tai muuten fiiliksellä ? Service-kuvia mulle privana linkattiin, mutta niistäkin kävi mielestäni ilmi vain se, että painetaan "virallisesti" erikoistyökalulla paikoilleen, jolloin menee väkisinkin työkalussa olevan kolmen tapin ansioista tiettyyn asentoon, vaan mikäpä se asento on,,,
| Liitteet: |

uus pusla_small.jpg [ 45.22 KiB | Katsottu 24024 kertaa ]
|

etupuslan asentaminen.gif [ 8.71 KiB | Katsottu 24024 kertaa ]
|
Miks nää aina hajoo jostain kohtaa,,,
|
|
|
|
 |
|
kokemjne
|
Viestin otsikko: Re: Xantia syö puslia Lähetetty: 16.03.2014 18:08 |
Viestit: 4706 Paikkakunta: 05460 Hyvinkää
|
|
joo....homma on " tieteellistä " . kyllä asento-opas pitää kattoo tähdistä , eikä koskaan asennella uuden/vanhan kuun aikana. niillä koloilla on just ja ainoastaan astrologinen arvo muille kuin maahantuojan korjaamon työkalulle. sen sijaan , jos haluaa puslien kestävän myös pikkusen pitempään , niin tuo sääntö . kiristää pultit vain ja ainoastaan oikeassa lentokorkeudessa , pätee.
|
|
|
|
 |
|
puuparta
|
Viestin otsikko: Re: Xantia syö puslia Lähetetty: 16.03.2014 19:18 |
Viestit: 274 Paikkakunta: Lohja
|
kokemjne kirjoitti: joo....homma on " tieteellistä " . kyllä asento-opas pitää kattoo tähdistä , eikä koskaan asennella uuden/vanhan kuun aikana. niillä koloilla on just ja ainoastaan astrologinen arvo muille kuin maahantuojan korjaamon työkalulle. sen sijaan , jos haluaa puslien kestävän myös pikkusen pitempään , niin tuo sääntö . kiristää pultit vain ja ainoastaan oikeassa lentokorkeudessa , pätee. Tämä selvä Eihän nuo etupuslat nytkään olleet lopussa tai ylipäätään välystä havaittavissa, vaikka siellä puslan laipanpuoleisessa päässä halkeilua olikin tapahtunut. Vaihdan nyt kuitenkin samalla kun tukivarret ovat irti. Eli eikun puristelemaan 
Miks nää aina hajoo jostain kohtaa,,,
|
|
|
|
 |
|
ealab
|
Viestin otsikko: Re: Xantia syö puslia Lähetetty: 17.03.2014 09:11 |
Viestit: 4467 Paikkakunta: Paimio
|
|
Entäpä taaemman puslan asennuskulma, jos ei alkuperäinen asennus ole enää "tallessa". Muistaakseni korvake tulisi hieman, viteettäin ylöspäin tukivarteen verrattuna?
|
|
|
|
 |
|
puuparta
|
Viestin otsikko: Re: Xantia syö puslia Lähetetty: 17.03.2014 09:30 |
Viestit: 274 Paikkakunta: Lohja
|
ealab kirjoitti: Entäpä taaemman puslan asennuskulma, jos ei alkuperäinen asennus ole enää "tallessa". Muistaakseni korvake tulisi hieman, viteettäin ylöspäin tukivarteen verrattuna? Takapuslallehan asento määritetään niin, että puslan metallikehto, jonka läpi kiinnityspultit menee on yhdensuuntainen tukivarren suoran alapinnan kanssa. Ja lopullinen kiristys vasta kun auto on pyörillään tai tukivarsi tunkattu kuvan mukaiseen asentoon. Eli kiristysvaiheessa tukivarren alapinta 8mm alempana kuin koriaisan alapinta. Tarkkaa peliä näköjään näiden ranskaisten kanssa, milli pieleen niin on jo silmässä,,,
| Liitteet: |

takapusla.gif [ 12.18 KiB | Katsottu 23817 kertaa ]
|
Miks nää aina hajoo jostain kohtaa,,,
|
|
|
|
 |
|
Teuski
|
Viestin otsikko: Re: Xantia syö puslia Lähetetty: 17.03.2014 09:48 |
Viestit: 7867 Paikkakunta: Eurajoki
|
|
Kai se on sama koska sen takapuslan pultit kiristää. Etupusla on eri juttu.
-=Citroën - Yhtä mukava kuin hyvä nojatuoli. Mutta parempi ajaa.=- -=C-Crosser 2.2HDi '07|C4 Cactus BlueHDi100 ETG '16=-
|
|
|
|
 |
|
puuparta
|
Viestin otsikko: Re: Xantia syö puslia Lähetetty: 17.03.2014 10:03 |
Viestit: 274 Paikkakunta: Lohja
|
Teuski kirjoitti: Kai se on sama koska sen takapuslan pultit kiristää. Etupusla on eri juttu. En tiedä, mutta pyhissä, kivitauluun hakatuissa kirjoituksissa on näin sanottu,,, Tähän ei voi liittää htm-filua, kun foorumisofta sanoo, että "Tiedoston tunniste htm ei ole sallittu Siirto hylättiin, koska se tunnistettiin mahdolliseksi hyökkäykseksi." mutta dokumentissä käsketään "Without tightening, fit nuts (5) and (8)." ja kuvassa nuts (5) tarkoittaa takapuslien muttereita ja yksikössä oleva nut (8) tarkoittaa etupuslan mutteria. Tämän jälkeen on tuo liittämäni kuva 8 millin mittoineen ja lihavoituna teksti "CAUTION : Before tightening ; Extremity "a" of the arm should be 8 mm approximately below the lower surface "b" of the front subframe."
Miks nää aina hajoo jostain kohtaa,,,
|
|
|
|
 |
|
Jankos
|
Viestin otsikko: Re: Xantia syö puslia Lähetetty: 17.03.2014 11:30 |
Viestit: 1230 Paikkakunta: Jokioinen
|
Takapuslan kiristyksellä ei ole mitään merkitystä puslan kestoon, vaan se pusla pitää laittaa oikeaan asentoon siihen tukivarteen ja kun sen sinne kerran laittaa niin siellä on  Paitsi onhan niita tarvikemallejakin nähty missä on niin väljä sovite että kiertyy tukivarressa.
Saxo vts v1600, Peugeot 2008 E-hdi 115 allure, Ducato 2.3jtd retkis, Ducato 180 multijet huoltoautona, Saxo TU5JP4T projekti.
|
|
|
|
 |
|
ealab
|
Viestin otsikko: Re: Xantia syö puslia Lähetetty: 17.03.2014 12:33 |
Viestit: 4467 Paikkakunta: Paimio
|
|
Onhan ollut motonet-tarvikkeita, jotka putosivat, kun tukivarren käänsi "väärään asentoon", vielä pöydällä. Takimmaiseen ei kiristykset vaikuta, vain se, miten on paikalleen lyöty. Ps. Kohtapuoleen taitaa olla toinen puslienvaihtokierros käsillä.
|
|
|
|
 |
|
svc
|
Viestin otsikko: Re: Xantia syö puslia Lähetetty: 17.03.2014 15:08 |
Viestit: 4073 Paikkakunta: Eteläkärki
|
Minulla olisi innokkaalle vaihtajalle -99 Xantian tukivarret, joissa on kiinni väljät puslat. (Olin laiska ja tilasin Ranskasta uudet tukivarret puslineen, kun auto piti saada nopeasti takaisin baanalle). Jos haluaa säästää auton seisonta-ajassa ja niin nämä tukivarret saa lähetyskulujen hinnalla (~15 kg paketti) tai Hangosta hakemalla. Sitten voit vaihtaa näihin uudet puslat kaikessa rauhassa ja itse tukivarsien vaihdon autoon voi tehdä vaikka toisena iltana. Tukivarret saa sillä ehdolla, että tarjoaa sitten ne omasta autosta otetut tukivarret kiertoon samalla hinnalla. 
"Pitäähän miehellä leluja olla..." C5 2.0 HDi -11, Seat León eHybrid -21
|
|
|
|
 |
|
puuparta
|
Viestin otsikko: Re: Xantia syö puslia Lähetetty: 17.03.2014 15:18 |
Viestit: 274 Paikkakunta: Lohja
|
ealab kirjoitti: Onhan ollut motonet-tarvikkeita, jotka putosivat, kun tukivarren käänsi "väärään asentoon", vielä pöydällä. Minussa on aina ollut yllytyshullun vikaa ja niinpä päätin puhtaasti empiirisessä testimielessä ja puolipiruuttani hommata tuohon nuo tukivarren puslat Motonetistä, vaikka Auto-Artikkeli on melkein vieressä ja osa hydeputkista tulee Vehon kautta eli sieltäkin nuo puslat olisin voinut hankkia. Kiinnostaa oikeesti kokeilla, kauanko nuo käytössä kestää 
Miks nää aina hajoo jostain kohtaa,,,
|
|
|
|
 |
|
Teuski
|
Viestin otsikko: Re: Xantia syö puslia Lähetetty: 17.03.2014 15:37 |
Viestit: 7867 Paikkakunta: Eurajoki
|
Mullakin kerran Motonetin etupusla oli niin väljä, ettei paikallaan pysynyt. Viime keväänä vaihdoin puslat tohon TD-xanttuun ja kesällä se makasi 3kk ala-asennossa. Molemmat etupuslat oli syksyllä parin kk ajon jälkeen ihan valmiit. Joten jos seisotatte niin kannattaa laittaa pukit alle. Voi kyllä olla että ne tuli kiristettyä pukeilla jousitus yläasennossa joten ei ihmekään jos hajosivat, aika paljon tulee vääntöä jos ovat kiertyneenä koko matkan edestä... 
-=Citroën - Yhtä mukava kuin hyvä nojatuoli. Mutta parempi ajaa.=- -=C-Crosser 2.2HDi '07|C4 Cactus BlueHDi100 ETG '16=-
|
|
|
|
 |
|
kokemjne
|
Viestin otsikko: Re: Xantia syö puslia Lähetetty: 17.03.2014 16:30 |
Viestit: 4706 Paikkakunta: 05460 Hyvinkää
|
|
kyllä ne kestää kunhan hoitaa asennuksen oikein.
|
|
|
|
 |
|
Bumper
|
Viestin otsikko: Re: Xantia syö puslia Lähetetty: 19.03.2014 20:13 |
Viestit: 876 Paikkakunta: Uusikaupunki
|
|
Mitenkään alkuperäiseen aiheeseen kantaa ottamatta... Mutta siis "Motonetin puslat" on ihan samoja kuin muissakin tarvikeliikkeissä. Motonet ei valmista itse mitään varaosia. Se, minkä laatuisia puslia sieltä saa riippunee täysin siitä miltä toimittajalta niitä milloinkin on sattunut tulemaan. Toki monessa muussa tarvikeliikkeessä annetaan mahdollisuus valita se merkki, sitä en kiellä.
Xantia 1.8i, C5 2.0i, BX 16 TRS, BX 16 GTI
|
|
|
|
 |
|
ealab
|
Viestin otsikko: Re: Xantia syö puslia Lähetetty: 20.03.2014 09:39 |
Viestit: 4467 Paikkakunta: Paimio
|
Ei enää, tuo on paljastunut! 
|
|
|
|
 |
|
puuparta
|
Viestin otsikko: Re: Xantia syö puslia Lähetetty: 20.03.2014 10:04 |
Viestit: 274 Paikkakunta: Lohja
|
Bumper kirjoitti: Mutta siis "Motonetin puslat" on ihan samoja kuin muissakin tarvikeliikkeissä. Motonet ei valmista itse mitään varaosia. No joo, nuorena miehenä kiinnosti (kuten tosin vieläkin) voimasoinnuilla soitettu metalli ja tytöt (ei enää kun ei muista mitä niiden kanssa pitäis tehdä ja vaikka muistais ei pysty) eli tuli nukuttua äidinkielen tunneilla ja siksi ilmaisin itseäni kirjallisesti epämääräisesti. Eli toki näin kuin kirjoitit. Tosin Volvo-piireissä wahwaa kokemusta omaavana voin todeta, että harmillisen usein Motonetin kautta tarjotaan Scantechin osia, ja ne ovat laidasta laitaan kuraa on kysymys sitten ilmansuodattimista, puslista tai jakopään osista. Oli miten oli: testimielessä siis Xanttuun tulee "Motonetin puslat" ja jopa pari "Motonetin hydeputkea". Katsotaan, onko minulla niiden osalta arpaonnea 
Miks nää aina hajoo jostain kohtaa,,,
|
|
|
|
 |
|
|